Apple запатентовала чехол с антенной для спутниковой связи
Новая патентная заявка Apple раскрыла подробности о необычном аксессуаре, призванном «прокачать» возможности связи фирменных смартфонов. Компания разработала концепт чехла для iPhone, который выполняет роль складной спутниковой антенны.
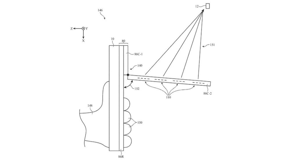
Современные модели iPhone уже поддерживают спутниковую связь, но для работы этой функции нужно точно направлять гаджет в сторону спутника, что не всегда удобно. Недавно опубликованный патент Apple предлагает альтернативное решение в формате чехла.
Согласно документу, в аксессуар должна быть встроена антенна с фазированной решёткой, которая «видит» сразу несколько спутников и может переключаться между ними. При этом рука пользователя не становится помехой для приёма сигнала.
Пока неизвестно, появится ли такой чехол в продаже. Впрочем, некоторые подвижки в этом направлении Apple уже делает: по слухам, компания скоро откажется от провайдера Globalstar в пользу Starlink. Кроме того, в начале прошлого года T-Mobile и Apple начали тестировать спутниковую связь на iPhone.
